| Author |
Message |
dslocum
Joined: Jul 20, 2013 Posts: 19 Location: Toms River NJ
|
Posted: Sun Jun 05, 2022 5:41 am Post subject:
EML-101 - KB S&H problem |
 |
|
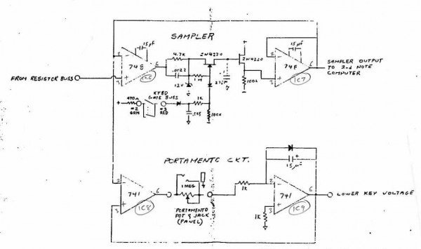
I'm restoring an EML-101. I have everything working great except the keyboard sample & hold. Maybe someone can help....
The S&H mostly works fine, except when you take your finger off a key (not gated) the voltage instantly goes down very slightly. I recall hearing this in the past, but don't recall an answer. Before I go replacing everything, has anyone seen this before or have any suggestions? |
|
|
Back to top
|
|
 |
Grumble

Joined: Nov 23, 2015 Posts: 1320 Location: Netherlands
Audio files: 30
|
Posted: Sun Jun 05, 2022 6:15 am Post subject:
|
 |
|
Posting the schematics or at least a link to that schematic will give you more and more adequate answers…. _________________ my synth |
|
|
Back to top
|
|
 |
dslocum
Joined: Jul 20, 2013 Posts: 19 Location: Toms River NJ
|
|
|
Back to top
|
|
 |
blue hell
Site Admin

Joined: Apr 03, 2004 Posts: 24670 Location: The Netherlands, Enschede
Audio files: 330
G2 patch files: 320
|
Posted: Sun Jun 05, 2022 8:32 am Post subject:
|
 |
|
Ah .. it is old right? may be the S&H storage cap gone bad? (the dotted unreadable contraption) _________________ Jan
also .. could someone please turn down the thermostat a bit.
9 3 4 .. erm .. not 13 then? .. hmm, ah eight! .. yeah yeah as in 8647 .. 47 is an 88 .. pwew .. numbles! |
|
|
Back to top
|
|
 |
dslocum
Joined: Jul 20, 2013 Posts: 19 Location: Toms River NJ
|
Posted: Sun Jun 05, 2022 8:38 am Post subject:
|
 |
|
| Blue Hell wrote: | | Ah .. it is old right? may be the S&H storage cap gone bad? (the dotted unreadable contraption) |
That was my first thought after seeing a few articles on S&H capacitors. It's the easiest to try first of course.
I also suspect something funny in the gating circuit. I'm not sure what that diode / RC network on the JFET is doing exactly, but maybe that cap is holding a charge too long after the KB resistor string has been released? Dunno.
Also, it's not like a droop where the voltage dies off slowly. It's a sharp and fairly consistent little pitch shift of a couple annoying musical cents. |
|
|
Back to top
|
|
 |
blue hell
Site Admin

Joined: Apr 03, 2004 Posts: 24670 Location: The Netherlands, Enschede
Audio files: 330
G2 patch files: 320
|
Posted: Sun Jun 05, 2022 3:49 pm Post subject:
|
 |
|
Hmm yeah .. could also be that the gate signal does not go low fast enough .. maybe a scope could tell .. but then again .. switching out two caps would be a quick test too :) _________________ Jan
also .. could someone please turn down the thermostat a bit.
9 3 4 .. erm .. not 13 then? .. hmm, ah eight! .. yeah yeah as in 8647 .. 47 is an 88 .. pwew .. numbles! |
|
|
Back to top
|
|
 |
Grumble

Joined: Nov 23, 2015 Posts: 1320 Location: Netherlands
Audio files: 30
|
Posted: Sun Jun 05, 2022 10:11 pm Post subject:
|
 |
|
When using a scope: NEVER try to read the voltage over the timing cap (the probe will drain this capacitor) _________________ my synth |
|
|
Back to top
|
|
 |
|